Домкрат путевой гидравлический ДПГ-12 (12 тонн)
Назначение и область применения
Домкрат путевой гидравлический ДПГ-12 — это специализированный инструмент, предназначенный для подъема рельсошпальной решетки при проведении ремонтных работ и текущем содержании железнодорожного пути .
Благодаря своей автономности (работает от встроенного насоса) и неприхотливости, модель ДПГ-12 широко используется путевыми бригадами, дистанциями пути (ПЧ) и строительными организациями для:
-
Риxтовки и правки пути.
-
Замены шпал и рельсов.
-
Подбивки балласта.
-
Проведения планово-предупредительных выправок.
Оборудование рассчитано на интенсивную эксплуатацию в полевых условиях и сохраняет работоспособность в широком диапазоне температур (от -40°С до +40°С) .
Технические характеристики ДПГ-12
Ниже представлены ключевые параметры домкрата путевого гидравлического:
Устройство и принцип работы
Домкрат путевой ДПГ-12 состоит из неподвижного основания с поршнем (1), по которому перемещается гидроцилиндр (8) с двумя подъемными лапами (9). Внутри масляного бачка (2) расположен двухплунжерный насос.
Принцип работы:
При качании съемной рукоятки (4), надетой на вал (3), масло под давлением подается в полость гидроцилиндра, заставляя его подниматься вместе с грузом.
Важная особенность: Двухплунжерная схема обеспечивает подачу масла при движении рукоятки в обе стороны, что значительно ускоряет подъем рельсошпальной решетки по сравнению с одноплунжерными аналогами .
Для опускания груза используется перепускной клапан (5). Возврат гидроцилиндра в исходное положение при снятии нагрузки осуществляется возвратной пружиной.
Особенности и конструктивные преимущества
-
Защита от перегрузки: Встроенный предохранительный клапан автоматически срабатывает при превышении грузоподъемности (более 12 т), предотвращая поломку инструмента .
-
Очистка масла: Внутри бачка установлен сетчатый фильтр и магнит для очистки рабочей жидкости от продуктов износа и металлической стружки, что продлевает срок службы насоса .
-
Две ступени подхвата: Наличие нижней (90 мм) и верхней (190 мм) лап позволяет работать в различных условиях и использовать домкрат для разных типов задач.
-
Удобство транспортировки: Съемная рукоятка и прочная ручка для переноски (7) делают перемещение инструмента по объектам удобным.
Комплектация и состав поставки
Поставляемый домкрат полностью готов к работе. В стандартный комплект входят:
- Домкрат путевой гидравлический ДПГ-12 в сборе (масло И-20А залито в бачок).
- Рукоятка приводная съемная (ДПГ 10-07.000).
- Руководство по эксплуатации (ДПГ 12-00.000 РЭ).
-
Запасные части (ЗИП):
-
Прокладка 2518.016
-
Манжета 1-63х48-6 ГОСТ 14896-84
-
Кольцо 020-025-30-2-2 ГОСТ 18829-73
-
Кольцо 057-063-36-2-2 ГОСТ 18829-73
-
Кольцо 079-085-36-2-2 ГОСТ 18829-73
Почему стоит купить ДПГ-12 в ООО Торг СП?
Мы предлагаем профессиональный путевой инструмент с полным пакетом гарантийных обязательств.
-
Наличие на складе: Прямые поставки с собственного склада и со складов производителей позволяют нам оперативно отгружать товар.
-
Гарантия и сервис: Мы выполняем гарантийные обязательства и обеспечиваем поставку оригинальных запасных частей ко всему ассортименту.
-
Профессиональный подбор: Наши специалисты помогут подобрать необходимый инструмент, будь то отечественное или импортное оборудование.
-
Отлаженная логистика: Быстрая отгрузка и доставка в любой регион РФ.
Заявка на покупку
Чтобы купить домкрат путевой гидравлический ДПГ-12 по выгодной цене, свяжитесь с нашими менеджерами по телефону или оставьте заявку через форму обратной связи.
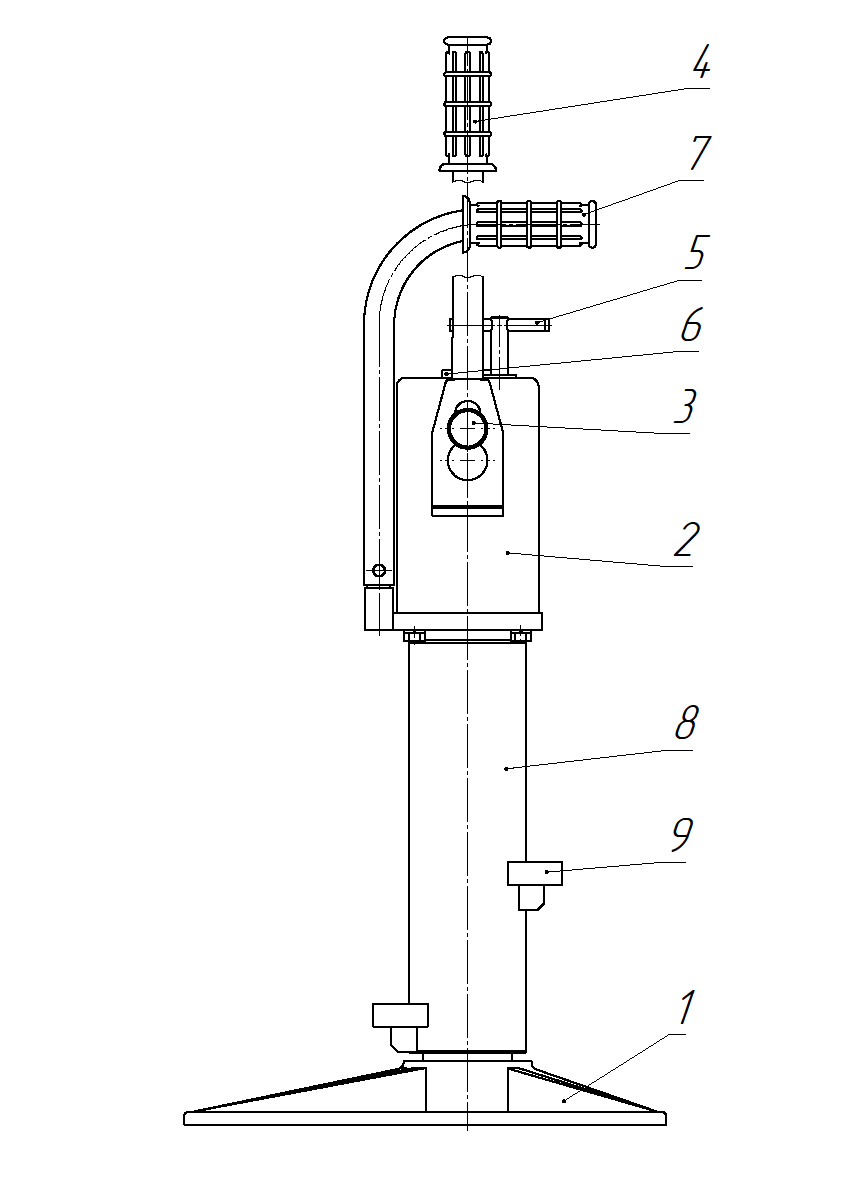
Схема, устройство и работа домкрата путевого гидравлического ДПГ-12

1 – основание с поршнем; 2 – бачок масляный; 3 – вал гидравлического насоса; 4 – рукоятка насоса; 5 – клапан перепускной; 6 –сапун; 7 – ручка для переноски; 8 –гидроцилиндр; 9 лапа подъемная.
Гидродомкрат состоит из основания с поршнем поз.1, по которому перемещается гидроцилиндр поз.8, имеющий две подъемные лапы поз.9 и ручку поз.7 для переноски гидродомкрата. Внутри масляного бачка поз.2 помещен двухплунжерный гидронасос с предохранительным клапаном. На вал поз.3 гидронасоса надевается съемная приводная рукоятка поз.4. Перепускной клапан поз.5 служит для сброса давления в гидроцилиндре, через отверстие, закрытое сапуном поз.6, в бачок заливается рабочая жидкость поз.11 гидропривода – минеральное масло. Очистка рабочей жидкости от загрязнений в процессе эксплуатации производится сетчатым фильтром и магнитом, размещенными внутри масляного бачка

